Netinfo Security ›› 2025, Vol. 25 ›› Issue (10): 1546-1553.doi: 10.3969/j.issn.1671-1122.2025.10.006

Previous Articles     Next Articles

Research on Universal Service Mode of Quantum Key Based on Dual Key Synchronization

XIE Sijiang1,2(), FENG Yan1,2, YAN Yalong1,2, NING Fei3   

  1. 1. School of Cyber Science and Technology, University of Science and Technology of China, Hefei 230026, China
    2. Department of Cyberspace Security, Beijing Electronic Science and Technology Institute, Beijing 100070, China
    3. College of Information Engineering, Changsha Medical University, Changsha 410219, China
  • Received:2025-02-05 Online:2025-10-10 Published:2025-11-07
  • Contact: XIE Sijiang E-mail:xiesj@besti.edu.cn

Abstract:

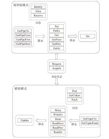
A universal service mode of quantum key based on dual key synchronization was proposed in order to address the problems of quantum key service of quantum key distribution network, such as limited universality and lack of service quality assurance. In this general service mode, the application model of quantum key distribution network was first designed abstractly, the concrete ways of quantum key distribution network serving cryptographic systems, key management systems and applications were given. Secondly, four types of universal quantum key services, namely dynamic end-to-end key service, static end-to-end key service, dynamic group key service and static group key service, were proposed to realize the optimal adaptation of quantum key service to multiple cryptographic application scenarios. Then, a dual key synchronization mechanism based on dual types of key pools was proposed, which effectively addressed the problems of competitive use of quantum key and reliability assurance of quantum key service for the end-to-end quantum key distribution in quantum key distribution network. Finally, the four types of universal quantum key services and the dual key synchronization mechanism were implemented in quantum key service. Through the testing of quantum key service in quantum key distribution network, it has been verified that the proposed universal service mode of quantum key can support the effective integration of quantum key distribution technology and classic cryptographic applications, and can provide support for the large-scale application of quantum key distribution network.

Key words: quantum key, universal service, end-to-end key, group key, dual key synchronization

CLC Number: