信息网络安全 ›› 2025, Vol. 25 ›› Issue (7): 1021-1031.doi: 10.3969/j.issn.1671-1122.2025.07.002
收稿日期:2023-07-13
出版日期:2025-07-10
发布日期:2025-08-07
通讯作者:
谭毓安
E-mail:tan2008@bit.edu.cn
作者简介:张全新(1974—),男,北京,副教授,博士,主要研究方向为深度学习及其对抗技术、计算机视觉安全、信息安全|李可(1999—),男,北京,硕士研究生,主要研究方向为FPGA加速|邵雨洁(1999—),女,北京,硕士研究生,主要研究方向为FPGA加速|谭毓安(1972—),男,北京,教授,博士,CCF会员,主要研究方向为Android安全、深度学习及对抗、物联网与嵌入式系统、数据存储安全
基金资助:
ZHANG Quanxin1, LI Ke1, SHAO Yujie1, TAN Yu’an2(
)
Received:2023-07-13
Online:2025-07-10
Published:2025-08-07
Contact:
TAN Yu’an
E-mail:tan2008@bit.edu.cn
摘要:
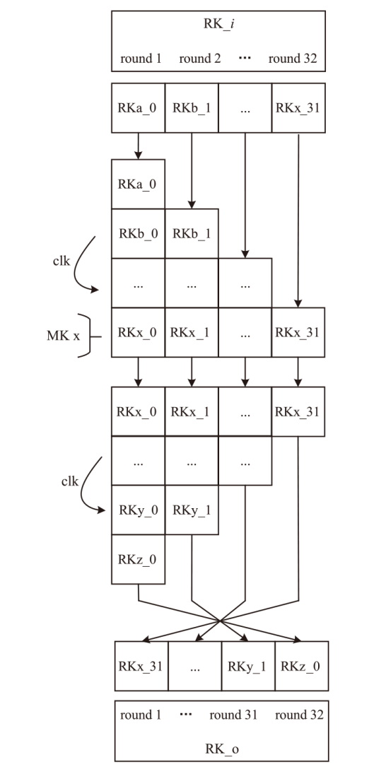
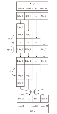
国密SM4算法是WAPI无线网络标准中广泛使用的加密算法。目前,针对SM4加解密的研究主要集中于硬件实现结构优化,以提高吞吐量和安全性。同时,大数据和5G通信技术的发展对数据加解密的带宽和实时性提出了更高的要求。基于此背景,文章提出一种基于FPGA的SM4异构加速系统,使用硬件实现SM4算法,并优化加解密性能;采用流式高速数据传输架构,支持多个SM4核并行工作,充分利用系统带宽;设计可配置接口,连接SM4与传输架构,提供足够的灵活性。系统于Xilinx XCVU9P FPGA上实现,支持随时更改SM4的负载和模式。测试得到SM4的最大工作频率为462 MHz,系统吞吐量高达92 Gbit/s,延迟仅为266 μs。实验结果表明,与其他现有工作相比,该系统能获得更高的SM4工作频率和系统吞吐量,满足高带宽和低延迟的SM4加速需求。
中图分类号:
张全新, 李可, 邵雨洁, 谭毓安. 基于FPGA的SM4异构加速系统[J]. 信息网络安全, 2025, 25(7): 1021-1031.
ZHANG Quanxin, LI Ke, SHAO Yujie, TAN Yu’an. An FPGA-Based Heterogeneous Acceleration System for SM4 Algorithm[J]. Netinfo Security, 2025, 25(7): 1021-1031.
| [1] | AHMAD S, ARIF M, AHMAD J, et al. Convergent Encryption Enabled Secure Data Deduplication Algorithm for Cloud Environment[EB/OL]. (2022-12-9) [2023-03-16]. https://doi.org/10.1002/cpe.8205. |
| [2] | SEBASTIAN G. Cyber Kill Chain Analysis of Five Major US Data Breaches: Lessons Learnt and Prevention Plan[J]. International Journal of Cyber Warfare and Terrorism (IJCWT), 2022, 12(1): 1-15. |
| [3] | AIVAZPOUR Z, VALECHA R, CHAKRABORTY R. Data Breaches: An Empirical Study of the Effect of Monitoring Services[J]. ACM SIGMIS Database: The DATABASE for Advances in Information Systems, 2022, 53(4): 65-82. |
| [4] |
LANG Huan, ZHANG Lei, WU Wenling. Fast Software Implementation of SM4[J]. Journal of University of Chinese Academy of Sciences, 2018, 35(2): 180-187.
doi: 10.7523/j.issn.2095-6134.2018.02.005 |
|
郎欢, 张蕾, 吴文玲. SM4的快速软件实现技术[J]. 中国科学院大学学报, 2018, 35(2):180-187.
doi: 10.7523/j.issn.2095-6134.2018.02.005 |
|
| [5] | ZHANG Xiaocong, GUO Hua, ZHANG Xiyong, et al. Fast Software Implementation of SM4[J]. Journal of Cryptologic Research, 2020, 7(6): 799-811. |
|
张笑从, 郭华, 张习勇, 等. SM4算法快速软件实现[J]. 密码学报, 2020, 7(6):799-811.
doi: 10.13868/j.cnki.jcr.000407 |
|
| [6] | WANG Lei, GONG Zheng, LIU Zhe, et al. Fast Software Implementation of SM4 Based on Tower Field[J]. Journal of Cryptologic Research, 2022, 9(6): 1081-1098. |
| 王磊, 龚征, 刘哲, 等. 基于塔域的SM4算法快速软件实现[J]. 密码学报, 2022, 9(6):1081-1098. | |
| [7] | JI Zhuoran, ZHANG Zhiyuan, XU Jiming, et al. Accelerating Multi-Scalar Multiplication for Efficient Zero Knowledge Proofs with Multi-GPU Systems[C]// ACM. Proceedings of the 29th ACM International Conference on Architectural Support for Programming Languages and Operating Systems. New York: ACM, 2024: 57-70. |
| [8] | CHENG Wangzhao, ZHENG Fangyu, PAN Wuqiong, et al. High-Performance Symmetric Cryptography Server with GPU Acceleration[C]// Springer. Information and Communications Security:19th International Conference, ICICS 2017. Heidelberg: Springer, 2018: 529-540. |
| [9] | Li Jun, Xie Wenbo, Li Lingchen, et al. Parallel Implementation and Optimization of SM4 Based on CUDA[C]// Springer. Applied Cryptography in Computer and Communications:First EAI International Conference. Heidelberg: Springer, 2021: 93-104. |
| [10] | LI Xiaodong, HU Yiming, CHI Yaping, et al. Parallel Implementation and Optimization of SM4-CTR Algorithm Based on General Computing Platform[J]. Journal of Cryptologic Research, 2022, 9(4): 663-676. |
| 李晓东, 胡一鸣, 池亚平, 等. 基于通用计算平台SM4-CTR算法并行实现与优化[J]. 密码学报, 2022, 9(4):663-676. | |
| [11] | ARMANUZZAMAN M, SADEGHI A R, ZHAO Ziming. Building Your Own Trusted Execution Environments Using FPGA[C]// ACM. Proceedings of the 19th ACM Asia Conference on Computer and Communications Security. New York: ACM, 2024: 1584-1599. |
| [12] | DI M S, ZULBERTI L, LAPENNA F C, et al. A PUF-Based Secure Boot for RISC-V Architectures[C]// Springer. International Conference on Applications in Electronics Pervading Industry, Environment and Society. Heidelberg: Springer, 2023: 87-94. |
| [13] | BOMMANA S R, VEERAMACHANENI S, ERSHAD S, et al. Mitigating Side Channel Attacks on FPGA Through Deep Learning and Dynamic Partial Reconfiguration[J]. Scientific Reports, 2025, 15(1): 1-10. |
| [14] |
ZHAO Jun, GUO Zhichuan, ZENG Xunwen. High Throughput Implementation of SMS4 on FPGA[J]. IEEE Access, 2019, 7: 88836-88844.
doi: 10.1109/ACCESS.2019.2923440 |
| [15] | HE Shiyang, LI Hui, LI Fenghua. FPGA Optimized Implementation of SM4 Algorithm[J]. Journal of Xidian University, 2021, 48(3): 155-162. |
| 何诗洋, 李晖, 李凤华. SM4算法的FPGA优化实现方法[J]. 西安电子科技大学学报, 2021, 48(3):155-162. | |
| [16] |
ZHAI Jiaqi, LI Bin, ZHOU Qinglei, et al. High-Performance Scalable SM4-GCM Algorithm Implementation Based on FPGA[J]. Computer Science, 2022, 49(10): 74-82.
doi: 10.11896/jsjkx.210900137 |
|
翟嘉琪, 李斌, 周清雷, 等. 基于FPGA的高性能可扩展SM4-GCM算法实现[J]. 计算机科学, 2022, 49(10):74-82.
doi: 10.11896/jsjkx.210900137 |
|
| [17] | WANG Kai, LIU Kai, LI Tuo, et al. Design and Implementation of Reconfigurable High-Speed Data Encryption System[J]. Electronic Measurement Technology, 2021, 44(19): 8-15. |
| 王凯, 刘凯, 李拓, 等. 可重构高速数据加密系统设计和实现[J]. 电子测量技术, 2021, 44(19):8-15. | |
| [18] | ZHAO Kun, LIU Wei, MU Qi, et al. PCIe Cryptographic Accelerator Based on Domestic FPGA[C]// IEEE. 2022 International Conference on Computing, Communication, Perception and Quantum Technology (CCPQT). New York: IEEE, 2022: 25-31. |
| [19] | GAO Xianwei, LU Erhong, XIAN Liqin, et al. FPGA Implementation of the SMS4 Block Cipher in the Chinese WAPI Standard[C]// IEEE. 2008 International Conference on Embedded Software and Systems Symposia. New York: IEEE, 2008: 104-106. |
| [20] | JIN Yi’er, SHEN Haibin, YOU Rongquan. Implementation of SMS4 Block Cipher on FPGA[C]// IEEE. 2006 First International Conference on Communications and Networking in China. New York: IEEE, 2006: 1-4. |
| [21] | GUAN Zhenyu, LI Yunhao, SHANG Tao, et al. Implementation of SM4 on FPGA: Trade-off Analysis between Area and Speed[C]// IEEE. 2018 IEEE International Conference on Intelligence and Safety for Robotics (ISR). New York: IEEE, 2018: 192-197. |
| [22] | MOHAMED N A, JABBAR M H. Performance Analysis of Different Neuron Activation Function Implementations on FPGA Using Artificial Neural Network[J]. Evolution in Electrical and Electronic Engineering, 2021, 2(2): 951-958. |
| [23] | CHENG Hai, DING Qun, HUANG Chunguang, et al. Improvements of SM4 Algorithm and Application in Ethernet Encryption System Based on FPGA[J]. Journal of Information Hiding and Multimedia Signal Processing, 2014, 5(3): 518-526. |
| [1] | 朱敏, 肖昊. 一种面积高效的双态可配置NTT硬件加速器[J]. 信息网络安全, 2024, 24(6): 959-967. |
| [2] | 何开宇, 王彬, 于哲, 陈方. ARP欺骗攻击与硬件防御研究[J]. 信息网络安全, 2024, 24(10): 1604-1610. |
| [3] | 肖昊, 赵延睿, 胡越, 刘笑帆. 抗量子密码中快速数论变换的硬件设计与实现[J]. 信息网络安全, 2023, 23(4): 72-79. |
| [4] | 李莉, 李泽群, 李雪梅, 史国振. 基于交叉耦合电路的物理不可克隆函数FPGA实现[J]. 信息网络安全, 2022, 22(3): 53-61. |
| [5] | 陈福臻, 程久军, 廖竞学, 邵剑雨. 基于网络编码的同态HASH抗污染攻击系统研究[J]. 信息网络安全, 2015, 15(6): 33-40. |
| [6] | 李艺颖;邓皓文;王思齐;龙军. 基于机器学习和NetFPGA的智能高速入侵防御系统[J]. , 2014, 14(2): 0-0. |
| [7] | . 基于机器学习和NetFPGA的智能高速入侵防御系统[J]. , 2014, 14(2): 12-. |
| [8] | 李锁雷;苏烈华;李恒训. 基于FPGA的物联网安全接入网关设计与实现[J]. , 2013, 13(3): 0-0. |
| [9] | 李正民;焦英楠;胡明昌. 一种加密算法的应用方案[J]. , 2013, 13(10): 0-0. |
| [10] | 吴昊;邵杰;王娟;朱辉. 基于Tate对的无线医疗匿名监护系统[J]. , 2013, 13(1): 0-0. |
| [11] | 江丽娜;高能;马原;刘宗斌. 祖冲之序列密码算法IP核的设计与实现[J]. , 2012, 12(8): 0-0. |
| [12] | 刘宗斌;马原;荆继武;夏鲁宁. SM3哈希算法的硬件实现与研究[J]. , 2011, 11(9): 0-0. |
| [13] | 肖梓航;桑胜田;肖新光. 反病毒引擎硬件加速技术研究[J]. , 2011, 11(1): 0-0. |
| 阅读次数 | ||||||
|
全文 |
|
|||||
|
摘要 |
|
|||||